在過去的幾年中,對飛機模擬器的運動基座的需求進行了很多討論。數次嘗試證明或否定對運動基座的需求,實際上,這種需求已得到證明和證明。通過所有這些研究和個人經驗,發現了一些基本真理:
1.空戰不需要運動基座
2.氣墊飛行器仿真(直升機VSTUL)需要運動基座
3.使用AH-64 PNVS等系統,尤其是在IFR條件下的地球飛行地圖需要運動基座
4.跟隨人工地形(200'高度,300節)需要一個運動基座
。5.承運人著陸需要一個運動基座
。6.飛行員對陣風的真實反應需要一個運動基座。
通常,任何需要頻繁,快速控制輸入的飛行員任務都需要運動基座。
并且可以采用分析方法來準確了解就飛行員而言運動基座在做什么。圖1顯示了實際飛機的飛行員側傾控制回路的框圖。飛行員從飛機上得到提示,告訴他飛機在做什么。側傾加速度和速度提示是“褲子座位”中的主要提示,而側傾角度提示則完全可見。誠然,飛行員可以從窗外看到一些速度提示,但是在瞬態條件下,飛行員很難,因為他必須通過心理上的區分來得出速度。飛行員無法通過向窗外看來獲得加速度提示。

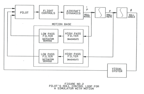
圖2顯示了帶有運動模擬器的飛行員的側傾控制環。滾動加速度和速度反饋信號仍然存在,盡管它們已被兩個濾波器修改。顯而易見,這些濾波器的設計至關重要。

通過實驗確定,飛行員在執行高工作負荷控制任務時,通常會在1.0-1.5Hz范圍內關閉側傾控制回路。這意味著飛行員正在響應低于1.0-1.5Hz的輸入,而忽略了高于1.5Hz的輸入。可以通過分析顯示出ID,只要運動基本濾波器在交叉頻率(1.0-1.5Hz)附近不會明顯改變加速度和速度信號的相位,側傾控制環路的瞬態響應就不會明顯改變。
圖3顯示了運動基座沖洗濾波器和執行器伺服帶寬的兩種不同組合的相移。這兩種組合均旨在提供1.0Hz的零急移。目的是提供在1.0Hz附近平坦(0度)的相位曲線。目的是提供在1.0Hz附近平坦(0度)的相位曲線。增加執行機構的伺服帶寬并降低沖洗濾波器的頻率可以改善相位曲線的平坦度。執行器的伺服帶寬通常受運動基座和座艙結構的限制。沖洗頻率受執行器行程限制,因為將沖洗頻率降低2倍需要將行程增加4倍。

圖4顯示了沒有運動的模擬器飛行員的側傾控制環。請注意,完全沒有加速度反饋,并且必須通過將滾動位置與視覺顯示區分開來得出任何速率信息。從分析上可以看出,除非飛行員大幅度改變其補償(即他使用提示來控制飛機的方式),否則側傾控制回路將變得不穩定。此外,飛行員在運動時的陣風反應與運動時的陣風反應完全不同。

該參數可以擴展為包括飛機的其他軸。
以下文檔是來自仿真行業的實際文檔。文檔中的注釋來自模擬器中的實際飛行員。他們的評論來自于仿真調整之前和之后。
400 025 3599 













在線咨詢 



